my889900 2022-10-28 791
随着蒸发结晶技术的日益成熟和不断发展,其在各行各业的应用已经非常普遍。蒸发器是蒸发结晶系统中一个主要设备。蒸发器按照不同分类方式,原理和操作方式也各不相同。
蒸发器的分类方式
蒸发器可以按照蒸发的方式分为自然蒸发和沸腾蒸发,自然蒸发的典型应用是海水晒盐,溶液在低于沸点温度下蒸发。而工业上的蒸发操作基本上都是沸腾蒸发,溶液加热至沸点,使之在沸腾状态下蒸发。
按加热方式分类,蒸发器可分为直接热源蒸发和间接热源蒸发,后者需要有一个传热过程,工业应用较多。
按操作压力分类,蒸发器可以分为常压、加压和减压(真空)蒸发器。对于热敏性物料应在减压下蒸发,而高粘度物料就应采用加压蒸发。
蒸发器根据蒸发器效数可分为单效与多效蒸发器。如果蒸发产生的二次蒸汽直接冷凝不再利用,称为单效蒸发。若将二次蒸汽作为下一效加热蒸汽,并将多个蒸发器串联,此蒸发过程即为多效蒸发。
按溶液在蒸发器中停留情况可以分为循环型蒸发器和单程型蒸发器。循环型蒸发器的溶液在蒸发器中作循环流动。按照引起循环的原因不同,操作不同,又可分为中央循环管式蒸发器,外加热式蒸发器和强制循环型蒸发器。
常见的蒸发器
中央循环管式蒸发器

中央循环管式蒸发器顾名思义,其加热室由一垂直的加热管束构成,在管束中央有一根直径较大的管子,称为中央循环管,其截面积一般为加热管束总截面积的40~100%。这种蒸发器的优点是结构紧凑、制造方便、传热较好、操作可靠。缺点是循环速度在0.4~0.5m/s以下、清洗和维修不方便。
外热式蒸发器

外热式蒸发器的结构特点是采用了长加热管,加热室与分离室分开,这样不仅便于清洗与更换,而且可以降低蒸发器的总高度。因其加热管较长,同时由于循环管内的溶液不被加热,故溶液的循环速度大,可达1.5m/s。
强制循环蒸发器

强制循环蒸发器是现在使用较多的蒸发器。为了提高循环速度,采用泵进行强制循环,这对于粘度大、易结晶、易结垢物料更为必要,蒸发循环速度可达1.8~5m/s,大小可调节,传热系数较大。此类蒸发器的加热室可以采用立式、卧式或者板式换热器。
单程型蒸发器

单程型蒸发器的特点是溶液以液膜的形式一次通过加热室,不进行循环。物料单程通过加热室后蒸发达到指定的浓度。它的优点是溶液停留时间短,故特别适用于热敏性物料的蒸发;温度差损失较小,表面传热系数较大。它的缺点是设计或操作不当时不易成膜,热流量将明显下降。按照布膜方式不同,这类蒸发器可以分为升膜式蒸发器和降膜式蒸发器。
升膜式蒸发器

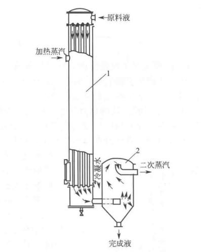
升膜式蒸发器的加热室由一根或数根垂直长管组成,原料液经预热后由蒸发器的底部进入,加热蒸汽在管外冷凝。当溶液受热沸腾后迅速汽化,所生成的二次蒸汽在管内高速上升,带动液体沿管内壁成膜状向上流动,上升的液膜因受热而继续蒸发。故溶液自蒸发器底部上升至顶部的过程中逐渐被蒸浓,浓溶液进入分离室与二次蒸汽分离后由分离器底部排出。它的主要性能特点是适用于蒸发量较大(即稀溶液)、热敏性及易起泡沫的溶液,但不适于高粘度、有晶体析出或易结垢的溶液。
降膜式蒸发器

降膜式蒸发器与升膜蒸发器的区别在于原料液由加热管的顶部加入。溶液在自身重力作用下沿管内壁呈膜状下流,并被蒸发浓缩,汽液混合物由加热管底部进入分离室,经气液分离后,完成液由分离器的底部排出。为使溶液能在壁上均匀成膜,在每根加热管的顶部均需设置液体布膜器。布膜器的型式有多种,较常用的三种,采用一螺旋型沟槽的圆柱体作为导流管,液体沿沟槽旋转下流分布在整个管内壁上;导流管下部为圆锥体,锥体底面向下内凹,以免沿锥体斜面流下的液体再向中央聚集;液体是通过齿缝沿加热管内壁成膜状下降。降膜式蒸发器的主要优点是传热系数较高,与升膜相比,可以蒸发浓度较高的溶液,对粘度较大的物料也能适用。它的主要缺点是结构较复杂,对安装精度要求高。
Demand feedback